Система смазки двигателя Камаз 740
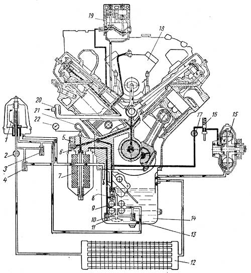
В двигателях автомобилей КамАЗ применена комбинированная система смазки. В зависимости от размещения и условий работы деталей масло подается либо под давлением, либо разбрызгиванием, либо самотеком. К наиболее нагруженным деталям масло подается под давлением, к остальным — разбрызгиванием и самотеком. Система смазки представляет собой ряд приборов и агрегатов для хранения, подвода, очистки и охлаждения масла: • поддон картера двигателя; • маслозаборник; • масляный фильтр грубой очистки; • масляный фильтр тонкой очистки; • масляный насос; • маслопроводы; • масляный радиатор; • контрольно-измерительные приборы и датчики. Масло из поддона через маслоприемник с сетчатым фильтром поступает в секции масляного насоса. Из нагнетающей секции масло через канал подается в полнопоточный фильтр, а оттуда в главную масляную магистраль. Затем по каналам в блоке и головках цилиндров масло под давлением подается к деталям КШМ и ГРМ, ТНВД и компрессору. К шатунным подшипникам масло подается по каналу коленчатого вала от ближайшей к ним коренной шейки. Опоры штанг и толкателей газораспределительного механизма омываются пульсирующей струей, а остальные детали — разбрызгиванием или самотеком масла. Масло, снимаемое со стенок цилиндра маслосъемными кольцами, отводится через сверления в поршневых канавках внутрь поршня и смазывает опоры поршневого пальца в верхней головке шатуна и бобышках поршня. Из главной смазочной магистрали масло под давлением подается к термосиловому датчику, а при открытом кране включения гидромуфты — в саму гидромуфту. Из радиаторной секции масляного насоса масло подается к фильтру центробежной (тонкой) очистки и через открытый кран включения масляного радиатора в сам радиатор, а из него в поддон картера двигателя. Если кран включения масляного радиатора закрыт, то из центрифуги (фильтр центробежной очистки) масло поступает в поддон через сливной клапан. Схема системы смазки камаз 740 1 — фильтр центробежной очистки масла; 2 — кран включения масляного радиатора; 3 — перепускной клапан центробежного фильтра; 4 — сливной клапан центробежного фильтра; 5 — перепускной клапан полнопоточного масляного фильтра; 6 — главная масляная магистраль; 7 — полнопоточный фильтр очистки масла; 8 — клапан системы смазки; 9 — нагнетающая секция масляного насоса; 10 — радиаторная секция масляного насоса; 11 — предохранительный клапан нагнетающей секции; 12 — масляный радиатор; 13 — предохранительный клапан радиаторной секции; 14 — поддон; 15 — гидромуфта привода вентилятора; 16 — термосиловой датчик; 17 — кран включения гидромуфты; 18 — топливный насос высокого давления; 19 — компрессор; 20 — сапун; 21 — указатель уровня масла; 22 — манометр. Из поддона 14 масло через маслоприемник засасывается в секции 9 и 10 масляного насоса. Через канал в правой стенке блока цилиндров масло из секции 9 поступает в корпус полнопоточного фильтра 7, где оно очищается, проходя через два фильтрующих элемента. Из фильтра масло поступает в главную масляную магистраль 6, расположенную в правой стенке картера блока цилиндров. Из главной масляной магистрали масло по каналам в перегородках блока цилиндров поступает к коренным подшипникам коленчатого вала, подшипникам распределительного вала, втулкам коромысел и по каналу в штангах клапанов к толкателям. К шатунным подшипникам коленчатого вала масло подается по каналам в коленчатом валу от ближайшей коренной шейки. Масло, снимаемое со стенок цилиндра маслосъемным кольцом, через отверстия в канавке кольца отводится внутрь поршня и смазывает опоры поршневого пальца в бобышках поршня и в верхней головке шатуна. Из канала в задней стенке блока цилиндров масло поступает по трубке для смазки подшипников компрессора 19. Из канала в передней стенке блока цилиндров производится отбор масла для смазки подшипников топливного насоса 18 высокого давления. Из главной масляной магистрали масло под давлением подается к термосиловому датчику 16, который расположен в переднем тор-це блока цилиндров и управляет работой гидромуфты 15 привода вентилятора в зависимости от температуры охлаждающей жидкости в системе охлаждения двигателя. Остальные детали и узлы двигателя смазываются разбрызгиванием и масляным туманом. Масло из радиаторной секции 10 поступает к фильтру 1 центробежной очистки, затем в радиатор 12, а из него сливается в поддон 14. При закрытии крана 2 масло из центрифуги сливается в поддон двигателя через сливной клапан 4.
Читайте также на сайте:













