ПГУ Камаз 5320: устройство и принцип работы
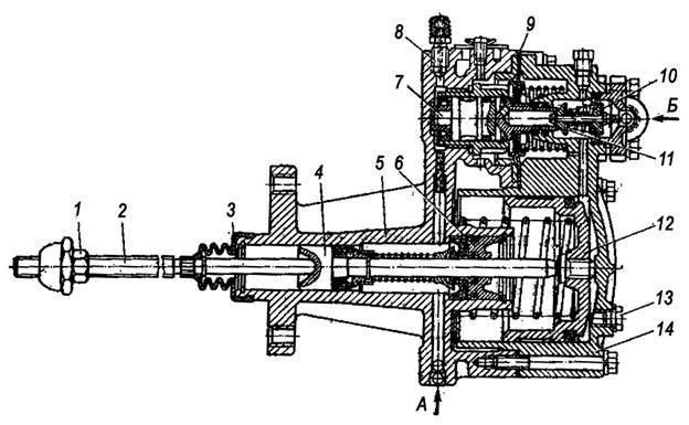
Автомобили КамАЗ оборудованы приводом выключения сцепления с пневмогидравлическим усилителем. ПГУ КамАЗ 5320 и других моделей необходим для снижения усилий, прилагаемых водителем при выключении сцепления. Усилитель снижает усталость водителя при длительном вождении. Конечно, сама схема передач КамАЗ ничуть не изменится, если в автомобиле не будет работать пневмогидроусилитель сцепления, вот только переключать эти самые передачи станет куда как сложнее. Ведь каждый раз, переключая скорость, вам приходится выжимать педаль сцепления, а главная задача ПГУ КамАЗ, это именно уменьшение того усилия, которое приходится прикладывать водителю. Устанавливают данное устройство на специальных лапках, расположенных с правой стороны картера сцепления. Подобное расположение позволяет добиться большей эффективности самого усилителя и максимально правильно использовать пространство. Пневмогидравлический усилитель состоит из следующих комплектующих:
- Металлический корпус;
- Гибкая мембрана;
- Поршень следящего действия;
- Поршень воздушной камеры;
- Шток выключения сцепления;
- Впускной клапан;
- Выпускной клапан;
- Резиновые манжеты.
Корпус усилителя
Корпус усилителя металлический. Он состоит из двух частей. Части скреплены между собой болтами. Проушины одной половины корпуса имеют внутреннюю резьбу. Это исключает необходимость установки гаек. В каждой половине корпуса пневмогидравлического усилителя оборудованы цилиндры для установки поршней.Мембрана
Диафрагма устанавливается в месте соединения частей корпуса ПГУ. Одновременно мембрана служит герметизирующей прокладкой. Диафрагма является частью следящего механизма.Следящий поршень
Поршень следящего механизма необходим для регулировки подачи сжатого воздуха из ресивера автомобиля в пневматический цилиндр. На поршень и гибкую мембрану воздействует давление тормозной жидкости, поступающей из главного цилиндра сцепления.Поршень воздушного цилиндра и шток
Поршень является частью силового пневматического цилиндра. Поршень жестко соединен с рабочим штоком. При подаче давления сжатого воздуха поршень перемещается, оказывая воздействие на шток выключения сцепления.Клапана и уплотнения
ПГУ оборудован двумя клапанами. Впускной клапан необходим для разобщения силового цилиндра и пневматической магистрали автомобиля. Выпускной используется для сообщения полости силового пневматического цилиндра с атмосферным выводом. Уплотнения необходимы для предотвращения утечек тормозной жидкости и давления сжатого воздуха.Принцип работы ПГУ КамАЗ 5320
Производитель устанавливает пневмогидравлический усилитель на кожух сцепления автомобиля. Крепление осуществляется при помощи болтов. Рабочий шток ПГУ упирается в рычаг выключения муфты сцепления.СПРАВКА: Шток на конце имеет сферическую форму. Она упирается в гнездо рычага выключения муфты. Это исключает заклинивание механизма при использовании.
Действие ПГУ КамАЗ 5320 1609510 осуществляется следующим образом:- Тормозная жидкость подается из главного цилиндра сцепления при нажатии педали в кабине водителя;
- Давление тормозной жидкости воздействует на поршень, соединенный с гибкой мембраной;
- Поршень перемещается, открывая впускной клапан;
- Через впускной клапан давление сжатого воздуха из ресивера автомобиля поступает в полость силового пневматического цилиндра;
- Под действием давления воздуха поршень силового цилиндра перемещается, сжимая противодействующую пружину и выдвигая толкатель;
- Выдвигаясь, толкатель нажимает на рычаг выключения сцепления. Муфта сцепления выключается;
- При возврате педали в кабине водителя, давление тормозной жидкости в системе падает;
- Поршень следящего действия и диафрагма осуществляют движение в обратном направлении;
- Впускной клапан закрывается, разобщая силовой цилиндр и воздушную магистраль;
- Выпускной клапан открывается, соединяя внутреннее пространство пневматического цилиндра с атмосферным выводом;
- Под действием пружины поршень воздушного цилиндра возвращается в обратном направлении, выталкивая воздушную массу через выпускной клапан;
- Рабочий шток уходит назад, освобождая рычаг выключения муфты. При этом сцепление включается, и крутящий момент от силового агрегата передается на первичный вал коробки переключения передач.
ВАЖНО: Степень перемещения следящего поршня зависит от давления тормозной жидкости в системе. Регулировка давления осуществляется педалью, расположенной в кабине водителя.
Какие типы ПГУ устанавливаются на КамАЗы
Модельный ряд грузовиков марки КамАЗ широк. Предприятие выпускает самосвалы 55111, 6520, 65115, тягачи 5460, 6460, бортовые грузовики 43118, 5320, военный 4310 и т. д. Многие старые модели с двигателем камаз 740 и абсолютно все новинки оснащены пневмогидравлическим усилителем. В наше время на грузовиках устанавливаются следующие типы ПГУ, изготовленных в России и за рубежом: • ПГУ производства ОАО «КамАЗ» (номер по каталогу 5320) с вертикальным расположением следящего устройства, т. е. над корпусом пневмоцилиндра. Применяется на моделях серий 4310, 5320, 55111, 43118 и т. д. • ПГУ, произведенные в США компанией WABCO. Данные агрегаты отличаются компактностью и наличием указателя износа накладок, по которому можно отследить степень износа агрегата без его демонтажа и разборки. Практически все новые модели КамАЗов с КПП-154 оснащаются именно этим ПГУ. • ПГУ ВАБКО КамАЗ для грузовиков с КПП торговой марки ZF. Произведенные на Волчанском агрегатном заводе (Украина) или на заводе Yumak (Турция) аналоги ПГУ WABCO. Думаете, какой усилитель выбрать взамен нынешнему? Рекомендуем точно такой же, какой был изначально установлен на вашем грузовике (обратите внимание на марку и номер из каталога) – только тогда будет обеспечено нормальное взаимодействие усилителя и сцепления. Если все-таки нужна замена ПГУ КамАЗ на агрегат другого типа, сначала проконсультируйтесь у специалиста, который в этом действительно хорошо разбирается. а – стандартная схема взаимодействия частей привода. б – расположение и фиксация элементов узла. 1 – педаль блока сцепления. 2 – основной цилиндр. 3 – цилиндрическая часть пневматического усилителя. 4 – следящий механизм пневматической части. 5 – воздухопровод. 6 – основной гидроцилиндр. 7 – выключающая муфта с подшипником. 8 – рычаг. 9 – шток. 10 – шланги и трубы привода.Ремонт ПГУ Камаз - видео
Читайте также на сайте:













