Установка маховика и сальника коленвала Камаз 740
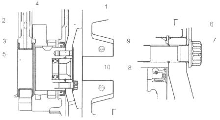
1 - маховик; 2- блок цилиндров; 3- коленчатый вал; 4 - картер маховика; 5- подшипник первичного вала коробки передач; 6- шайба; 7- болт крепления маховика; 8- манжета уплотнения коленчатого вала; 9- пыльник манжеты; 10 - штифт установочный маховика. Диаметры шеек коленвала Камаз-740 : коренных 95+0.011 мм, шатунных 80±0,0095 мм. Для восстановления двигателя Камаз-740 предусмотрены восемь ремонтных размеров вкладышей. Вкладыши 7405.1005170 Р0, 7405.1005171 Р0, 7405.1005058 Р0 применяются при восстановлении двигателя без шлифовки коленчатого вала. При необходимости шейки коленчатого вала заполировываются. Допуски на диаметры шеек коленчатого вала Камаз-740, отверстий в блоке цилиндров и отверстий в нижней головке шатуна при проведении ремонта двигателя должны быть такими же, как у номинальных размеров новых двигателей. Коренные и шатунные подшипники Камаз-740 изготовлены из стальной ленты, покрытой слоем свинцовистой бронзы толщиной 0.3 мм, слоем свинцово-оловянистого сплава толщиной 0.022 мм и слоем олова толщиной 0.003 мм. Верхние 3 и нижние 4 вкладыши коренных подшипников не взаимозаменяемы. В верхнем вкладыше имеется отверстие для подвода масла и канавка для его распределения. Оба вкладыша 4 нижней головки шатуна взаимозаменяемы. От проворачивания и бокового смещения вкладыши Камаз-740 фиксируются выступами (усами), входящими в пазы, предусмотренные в постелях блока, крышках подшипников и в постелях шатуна. Вкладыши Камаз-740 имеют конструктивные отличия, направленные на повышение их работоспособности при форсировке двигателя турбонаддувом, при этом изменена маркировка вкладышей на 7405.1004058 (шатунные), 7405.1005170 и 7405.1005171 (коренные). Поэтому при проведении ремонтного обслуживания не рекомендуется замена вкладышей на серийные с маркировкой 740.100.., так как при этом произойдет существенное сокращение ресурса двигателя. Крышки коренных подшипников Камаз-740 изготовлены из высокопрочного чугуна марки ВЧ50. Крепление крышек осуществляется с помощью вертикальных и горизонтальных стяжных болтов 3, 4, 5, которые затягиваются по определенной схеме регламентированным моментом. Маховик Камаз-740 закреплен восемью болтами 7, изготовленными из легированной стали с двенадцатигранной головкой, на заднем торце коленчатого вала и точно зафиксирован двумя штифтами и установочной втулкой. С целью исключения повреждения поверхности маховика Камаз-740 под головки болтов устанавливается шайба 6. На обработанную цилиндрическую поверхность маховика напрессован зубчатый венец, с которым входит в зацепление шестерня стартера при пуске двигателя. При выполнении регулировочных работ по установке угла опережения впрыска топлива и величин тепловых зазоров в клапанах маховик Камаз-740 фиксируется при помощи фиксатора. При этом конструкция имеет следующие основные отличия от серийной:
- изменен угол расположения паза под фиксатор на наружной поверхности маховика;
- увеличен диаметр расточки для размещения шайбы под болты крепления маховика.
Читайте также на сайте:












