Установка упорных полуколец и вкладышей коленвала Камаз 740
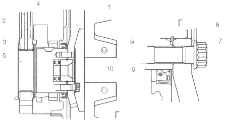
1 - полукольцо упорного подшипника коленчатого вала верхнее: 2- полукольцо упорного подшипника коленчатого вала нижнее 3- вкладыш подшипника коленчатого вала верхний; 4- вкладыш подшипника коленчатого вала нижний; 5- блок цилиндров 6 - крышка подшипника коленчатого вала задняя 7 - коленчатый вал. В полость переднего носка коленчатого вала Камаз-740 ввернут жиклер 8,через калиброванное отверстие которого осуществляется смазка шлицевого валика отбора мощности на привод гидромуфты. От осевых перемещений коленчатый вал Камаз-740 зафиксирован двумя верхними полукольцами 1 и двумя нижними полукольцами 2, установленными в проточках задней коренной опоры блока цилиндров,так,что сторона с канавками прилегает к упорным торцам вала. На переднем и заднем носках коленвала Камаз 740 установлены шестерня 3 привода масляного насоса и ведущая шестерня 4 привода распределительного вала. Задний торец коленчатого вала имеет восемь резьбовых отверстий для болтов крепления маховика, передний носок коленчатого вала имеет восемь отверстий для крепления гасителя крутильных колебаний. Уплотнение коленчатого вала Камаз-740 осуществляется резиновой манжетой 8, с дополнительным уплотняющим элементом - пыльником 9. Манжета размещена в картере маховика 4. Манжета изготовлена из фторкаучука по технологии формования рабочей уплотняющей кромки непосредственно в прессформе.
Читайте также на сайте:













