Коленвал Камаз 740
Коленвал КамАЗ 740 изготавливается из стали высокого качества, оснащается пятью коренными шейками и четырьмя шатунными аналогами. Эти детали закалены путем воздействия высокой температуры и давления. Между собой элементы соединены специальными щеками и сопряженными гантелями. Для равномерного чередования рабочих ходов расположение шатунных шеек коленчатого вала выполнено под углом 90°. К каждой шатунной шейке коленвала Камаз-740 присоединяются два шатуна: один для правого и один для левого рядов цилиндров.Коленвал Камаз-740
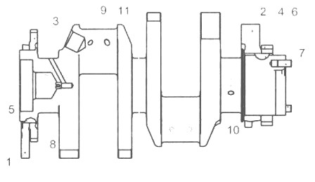
1 - противовес коленчатого вала передний; 2 - противовес коленчатого вала задний; 3 - шестерня привода масляного насоса; 4 - шестерня привода газораспределительного механизма; 5,6- шпонка; 7 -штифт; 8- жиклер; 9 - облегчающие отверстия; 10 - отверстия подвода масла в коренных шейках, 11-отверстия подвода масла к шатунным шейкам. Подвод масла к шатунным шейкам производится от отверстий в коренных шейках 10 прямыми отверстиями 11. Для уравновешивания сил инерции и уменьшения вибраций коленчатый вал Камаз-740 имеет шесть противовесов, отштампованных заодно со щеками коленвала. Кроме основных противовесов, имеются два дополнительных съемных противовеса 1 и 2, напрессованных на вал, при этом их угловое расположение относительно коленчатого вала определяется шпонками 5 и 6. В расточку хвостовика коленвала Камаз-740 запрессован шариковый подшипник. Маховик и шейки По диаметру коренные и шатунные шейки коленвала КамАЗ 740 составляют 95 и 80 миллиметров соответственно. Предусмотрено 8 типов восстановительных вкладышей, которые применяются для ремонта без проведения шлифовки. Коренные и шатунные подшипники сделаны из стальной ленты со свинцово-бронзовым напылением и оловянным покрытием. Вкладыши вверху и внизу элемента не являются взаимозаменяемыми. От поперечного и продольного смещения они зафиксированы уступами, которые размещаются в пазах крышек подшипников и постелях шатуна. Указанные части имеют соответствующую маркировку (74-05.100-40-58 и 74-05.100-57-51). Заслонки и крышки изготовлены из чугуна повышенной прочности. Крепятся они при помощи болтов, которые фиксируются по регламентированной схеме. Маховик фиксируется на восемь болтовых шпилек, сделанных из легированной стали, а также штифтами с втулкой. Чтобы избежать повреждения узла, под болтовые головки помещаются шайбы, а на цилиндрической поверхности маховика находится зубчатый венчик.Шлифовка коленчатого вала 740.1005008 двигателя Камаз
Читайте также на сайте:













